At Boat Fittings we stock a wide variety of threaded fasteners. All of our threaded fasteners are standard metric (which means the metric coarse thread). In general when you buy metric nuts and bolts they are of the coarse thread unless otherwise stated, and they suit the vast majority of applications.
As a quick reference, for drilling and thread tapping for standard (coarse) metric threads please refer the the table below. This thread pitch table can be useful also for establishing the specification of any bolts or set-screws you are looking to replace. Thread pitch gauges can be bought quite readily from outlets such as Halfords. If you are armed with a thread pitch gauge and some digital calipers you can figure most things out (with the aid of the table below).

The ‘bolts’ that we stock are actually set-screws. The terms set screw means that the shank or shaft of the bolt is threaded along its entire length, whereas strictly the term bolt refers to only partially threaded. The reason that we stock set-screws is that we feel they are more versatile and that this is less chance of selecting items that don’t fit properly.
The diameter, eg M3,M4,M5 etc. means that outside diameter of the set-screw or bolt, and also the hole which it will fit through. Set-screw and bolts are manufactured so that they will always fit through a hole of their nominal size, so if you us a 6mm drill an M6 bolt or set-screw will fit through it as they are manufactured slightly under-size eg 5.8mm for an M6 bolt.
All of our nuts, bolts, washers and screws are A4 grade, sometimes called Marine grade. See our separate guide for a description for the difference between A4 and A2 stainless steel grades.
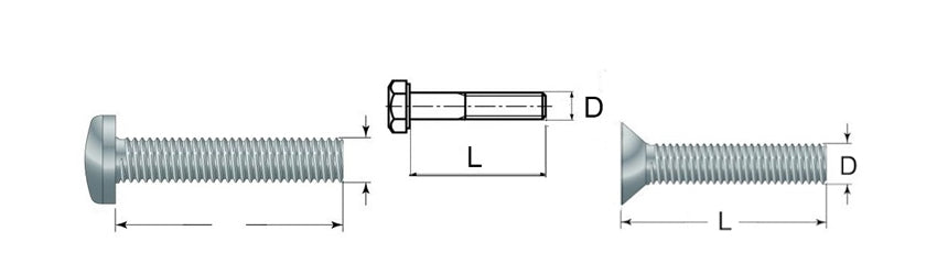
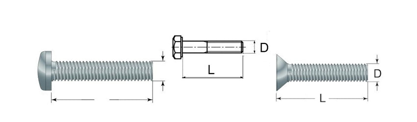
The lengths of our set-screws are designated in the standard way, the definition of length is slightly different depending on whether they are hex-head or countersunk, please see the diagram below to clarify.

The main thing to not with regard to length is that for countersunk bolts or set-screws the length measurement includes the head, and for other types the length measurement is to the underneath of the head.
If you need some set-screws we sell them both individually or in larger pack quantities to give you best value for money - please take a look at the link below:
https://www.boatfittings.co.uk/collections/set-screws-machine-screws-bolts
If you are interested in purchasing set-screws or bolts you will likely also want washers or nuts to go with them, you can find these here:
https://www.boatfittings.co.uk/collections/washers
https://www.boatfittings.co.uk/collections/nuts
If you found this guide useful or interesting you might like to sign up to our newsletter, so that we can let you know when our next guide has been published.
